Структурное остекление
Кроме цельного привлекательного вида у структурного остекления большие технические преимущества.
Особенности
Структурная система схожа с традиционной, только имеет некоторые особенности:
1. Процесс крепления светопрозрачного наполнения происходит без видимых элементов прижима. Фасад смотрится стильно, поскольку снаружи не видны накладные планки.

2. Установка структурного остекления ничем не отличается от стоечно-ригельного, только система лишена громоздкости. В ячейки металлического каркаса вставляется и приклеивается стеклопакет клеем-герметиком. Швы герметизуются силиконовым герметиком бесцветным или подобранным в тон стеклопакета.
3. Отличается структурное остекление размером стекол. Внутреннее стекло меньше наружного. Таким образом, элементы фасада плотно устанавливаются друг к другу и создают технологические зазоры маленького размера.
Применяется структурная система при строительстве административных зданий и офисов крупных компаний, торгово-развлекательных центров, отелей, гостиниц. Также его используют при реконструкции старых построек.

Достоинства
Сплошное остекление фасадов исключает наличие щелей, в которых скапливаются грязь и пыль, поэтому служит оно долго и обладает следующими достоинствами:
- водонепроницаемость;
- высокая теплозащита;
- высокий уровень шумоизоляции;
- долговечность. В этот системе используют прочный, не подверженный деформациям каркас и закаленное стекло. Во время усадки здания стекла не будут растрескиваться;
- эстетичный вид;
- простота в ремонте.
Стоимость структурной системы не на много выше классической. Один квадратный метр остекления обойдется в 8,5 тысяч рублей. В сумму уже включены монтаж, проектные работы, стеклопакет и каркас.
Достоинства и недостатки панелей
Клинкерные панели для фасада, как и любой облицовочный
материал, имеет свои положительные и отрицательные стороны.
К достоинствам облицовочных керамических панелей можно отнести:
- легкость монтажа (с помощью специальных креплений панели просто крепить к обрешетке, а технология крепления соседних плит заключается в защелкивании замков);
- экологичность;
- декоративность оформления;
- влагоустойчивость;
- долговечность (производитель обещает до 50 лет неизменного внешнего вида и качественной составляющей);
- отсутствие плесени на облицовочном покрытии;
- низкий показатель теплопроводности;
- звукоизоляция;
- разнообразие форм, фактур и цвета;
- легкость конструкции (не требуется усиления фундамента и несущих стен);
- устойчивость к ультрафиолету.
Кроме этого, клинкерная облицовка не требует специального ухода, не притягивает грязь и легко очищается под дождем.
Довольно высокая стоимость клинкерной облицовки обуславливает отрицательные характеристики данного вида облицовки, особенно это ощутимо при обшивке двухэтажного здания.

Еще следует учесть при монтаже, что керамика довольно чувствительна к механическим ударным силам и может повредиться при неаккуратной работе.
Модульные фасады
Массовое остекление многоэтажных зданий требовало от системы остекления фасадов быстрые сроки изготовления и установки. Стоечно-ригельное остекление перестало удовлетворять этим требованиям, поэтому были созданы модульные системы, которые учитывали архитектурную специфику высотных сооружений.
Различия между классической и модульной системами начинаются с проектирования витража. В стоечно-ригельной системе каждый витраж проектируют отдельно, а в элементном остеклении – сразу весь фасад.

Конструкция узла модульного элементного остекления
Данная система на строительные объекты поставляется уже готовыми блоками, которые производится под контролем ОТК производителя, а не отдельными элементами, как в классическом остеклении.
Блоки собираются изнутри здания. На этажи их поднимают подъемными устройствами и устанавливают на специальные кронштейны. Стоит отметить, что высота одного блока равняется высоте этажа. Заполнение швов происходит с помощью герметиков на основе этилен-пропиленовых каучуков (EPDM).
Применение модульной системы в небольших витражах не целесообразно. Ею остекляют многоэтажные здания с количеством этажей от 10 и до 100, которые делятся на блоки.
Ну и конечно элементная система отличает скоростью монтажа и качеством, что также влияет на её стоимость, которая превышает цену классической почти в два раза.
Монтаж клинкерной плитки
Монтаж термопанелей на обрешетку можно выполнять самостоятельно, для этого следует знать некоторые моменты крепления:
- для крепления одной плиты материала необходимо использовать от шести саморезов;
- состыковать плиты легко из-за их конструктивных особенностей: гребенчатого края;
- для защиты стыковочных швов целесообразно использовать герметик.

Последовательность работ:
- по отмеченной вдоль линии цоколя полосе крепится алюминиевая стартовая полоса;
- на фасаде следует закрепить маяки;
- крепление начинать следует с угла;
- далее монтируются панели;
- первую панель вставляют в угловой элемент и с нижней части — в стартовую линию;
- заделать пеной пространство между цокольным профилем и стеной;
- далее следует укладывать следующие ряды.
ОСТОРОЖНО!
Если стыки монтируются ступенчатым образом, следует подложить специальную прокладку для выравнивания стыковочного шва.
После крепления всех элементов стыки рекомендуется заделывать морозостойким средством.

Таким образом, выполнив облицовку фасада клинкерной плиткой, можно выполнить несколько задач: защитить стены дома от внешнего влияния, выполнить декоративное оформление фасада, обеспечить теплоизоляцию в доме.
Виды клинкерных панелей
Различают клинкерные панели по внутреннему строению:
- двухслойные. Не имеют утепляющего слоя, имеют в основании плиту ориентированно стружечную, цементно-стружечную, либо стекломагнезитовую плиту;
- трехслойные (термопанели). Имеют в структуре утеплитель и основу для создания жесткости из ОСП, ЦСП или СМП;
- однослойные (декоративные). Представлены в виде голой клинкерной плиты с оформлением декоративной текстуры (под кирпич, камень и т.д.) с лицевой стороны. Крепятся к стене исключительно на клеевой раствор. Без утеплителя.
Для защиты стен от внешних факторов целесообразно использовать двухслойные или трехслойные виды плит. Однослойные выполняют скорее декоративную функцию, чем защитную.

Порядок монтажа вентилируемого фасада с отделкой керамогранитом
Если речь про реконструкцию здания, то на подготовительном этапе со стены удаляются слабо закрепленные куски старой облицовки. Необходимости в выравнивании поверхности нет, поскольку она будет скрыта отделкой фасада из керамогранита. Оценивается способность несущих конструкций выдержать дополнительные нагрузки. Завозятся все необходимые материалы. Ограждается территория.

Если монтаж фасада из керамогранита будет производиться на высоте, то устанавливаются строительные леса или люльки. Производится разметка стены для установки кронштейнов четко в соответствии с проектом. Стандартный шаг вертикальных направляющих под керамогранит – 600мм, даже если плата имеет ширину 1200мм. Шаг системы может быть сокращен на углах, под окнами, и везде, где потребуется подрезка плиты керамогранита.
Существуют разные типы систем в зависимости от используемого металла в конструкции:
- оцинкованные;
- алюминиевые;
- нержавеющие.
В оцинкованных системах применяется вертикально- горизонтальный метод монтажа. Это значит, что кроме вертикальных направляющих, будут использованы и горизонтальные. Соединяясь между собой, направляющие образуют клетку на фасаде, где ячейка 600*600мм. Это удобно монтажникам, потому что есть возможность смещения плитки керамогранита влево/ вправо.
При вертикальном расположении системы, возможность смещения плитки ограничена допустимым способом смещения кляммера относительно верхней полки профиля. Кляммер можно смещать, но главное условие допустимости такого узла – каждый кляммер должен быть закреплен как минимум на две заклепки наискосок в верхнее и нижнее отверстие.
Монтажников нужно ограничивать в самостоятельном принятии решения относительно раскладки керамогранита на фасаде. Интересы у собственника здания и подрядной организации разные, собственнику важен эстетический вид, раскладка должна быть с ним согласована. Речь о проекте на навесной фасад с керамогранитом, проект должен быть обязательно. В проекте определена раскладка и расположение каждого узла конструкции.
В большинстве случаев монтаж керамогранита ведется горизонтальными рядами. Для этого с помощью уровня необходимо параллельно нулевой отметки провести на стене нижнюю стартовую линию и определить точное место расположения углов. От них в будущем будет вестись установка плитки, но для этого надо заранее правильно подвести под нее каркас.
При изготовлении вентилируемого фасада из керамогранита технология монтажа должна соблюдаться в соответсвии с Альбомом Технических Решений и проектом на фасад. Альбом технических решений- набор типовых узлов, допустимых к использованию на конкретной системе. Альбом технических решений согласовывается ФАУ ФЦС при выдаче Технического Свидетельства на систему, он есть у каждого сертифицированного производителя.
В соответствии с произведенной разметкой на стену через паронитовые прокладки устанавливаются несущие и опорные кронштейны. Их крепят анкерными дюбелями, которые должны уходить в бетон или кладку не менее, чем на 5-6 сантиметров. Заранее нужно провести испытания на вырыв анкера, чтобы подобрать допустимый анкер в соответствии с нагрузками, передаваемыми на точку крепления.
На несущие кронштейны с применением саморезов или заклепок крепят профиль из оцинкованной, нержавеющей стали или алюминия. При этом должны выполняться два обязательных условия:
- верхние полки профилей образуют идеально ровную плоскость для правильного крепления керамогранита на фасад;
- между слоями облицовки и теплозащиты оставляют пространство для естественной вентиляции;
- в зависимости от проекта профиль устанавливается вертикальными рядами или образует решетку правильной формы.
Утеплитель в навесных конструкциях
Монтаж вентилируемого фасада из керамогранита, как правило, предполагает наличие сплошного слоя утеплителя. Для этого используют маты из минеральной ваты плотностью не менее 80кг/м3. Их прижимают к стене тарельчатыми дюбелями. Каждый мат минваты должен быть закреплен пятью дюбелями: четыре по углам и один в центре. Снаружи на них закрепляют ветрогидрозащитную мембрану. Она пропускает пары воды и препятствует выветриванию теплоизоляционного материала восходящими потоками воздуха. Можно применять двухслойное утепление в вентфасадах. Нижний слой базальтового утеплителя может быть меньшей плотности – от 50кг/м3. При двухслойном утеплении каждую следующую плиту утепления укладывают на предыдущую, перекрывая стыки. Таким образом достигается максимальное сохранение тепла в здании.
Монтаж вентилируемого фасада
Установка керамогранита на фасад открытым способом регламентируется положениями СНиП №3-01-85 и производится в несколько этапов:
- Подготовка поверхности стены;
- Установка крепежей каркаса;
- Монтаж теплоизоляционного слоя и гидроизоляции;
- Сборка несущего каркаса;
- Монтаж облицовочной плитки.
Подготовка стены
Прежде всего, следует оценить состояние поверхности стены – она должна быть относительно ровной, без явных бугров и впадин. Незначительные перепады от вертикали можно нивелировать при помощи свободного хода крепёжных элементов, предусмотренного конструкцией. Большие изъяны нужно будет исправлять при помощи штукатурных работ.
Следующим шагом производится разметка поверхности, которую наносят в зависимости от проекта фасада. Стена маркируется под крепежи, на которые в дальнейшем будут устанавливаться направляющие профили.
Первый способ разметки можно увидеть на следующем видео:
Второй способ разметки предусматривает импользование лазерных уровней, имеющих и вертикальную, и горизонтальную настройку. Работа начинается с самого низа стены: при помощи уровня намечается стартовая линия, идущая вдоль земли. Таким же образом, с шагом равным высоте выбранной керамогранитной плитки, горизонтальными линиями размечается вся стена.
Далее, через промежутки, соответствующие ширине выбранных облицовочных плит, делаются отметки – на пересечении горизонтальных и вертикальных линий и будут располагаться каркасные крепежи.

Установка кронштейнов
Монтировать кронштейны следует при помощи перфоратора и анкерных болтов
Особое внимание при следует уделять вылету кронштейна – он зависит от толщины слоя утеплителя (см. ниже)
Необходимо чтобы после монтажа каркасных профилей и облицовочных плит, между стеной и теплоизоляцией остался вентиляционный зазор в 3-5 см.

Для компенсации термоусадки (циклов сжатия и расширения под действием перепадов температуры) между кронштейнами и стеной устанавливаются прокладки из паронита или плотной резины.
Различные варианты крепежных кронштейнов производства “Кроспан”
Установка каркасных профилей
К монтажу каркаса следует приступать после полной отделки здания теплоизоляцией. Первоначально на плоскости стены укрепляют вертикальные стойки. Они могут быть Т-образными, U-Образными или угловыми. Каждый вид стоек используется для определённых целей – внутренних и внешних стыков, облицовки углов, оконных и дверных проёмов.
Основным видом вертикальных профилей являются Т-образные, применяемые для создания единой ровной плоскости на облицовываемой поверхности здания. Вертикальные стойки выполняют основную, несущую функцию. На них устанавливаются крепёжные клямеры, служащие для крепления керамогранита.
Варианты укладки фасадной плитки
Чтобы получить красивый фасад, керамогранит (видео можно посмотреть далее) можно укладывать разнообразными способами:
- Традиционный и наиболее часто используемый способ – укладка плит одинакового цвета и размера параллельно фундаменту здания. При этом можно применять и квадратные, и прямоугольные плиты.
- Установка плит со смещением позволяет выполнить имитацию кирпичной кладки большого размера. Для этого применяются прямоугольные плиты, которые укладывают не одна под другой, а смещая верхний ряд относительно нижнего. Еще красивее получится рисунок, если некоторые плиты будут другого цвета.
- Комбинированная укладка предполагает использование фасадных плит разного размера. В этом случае различное расположение плит позволяет формировать сложный рисунок фасада. Конечно, монтаж такого фасада более сложен.
- Керамогранит облицовочный фасадный можно использовать для создания рисунка фасада, напоминающего паркет. В этом случае ряды прямоугольных плит укладываются поочередно вертикально и горизонтально.
В первую очередь на фасаде размещается крепеж под вентфасад. И только затем монтируется керамогранит
Здания из керамогранита часто разнообразят использованием облицовочных плит разных цветов. При таком способе украшения фасада возможно бесконечно большое количество вариантов и по цветовой гамме, и по порядку смены цветов.
Устройство фасада из керамогранита позволяет монтировать его использовать как снаружи, так и внутри здания
Устройство фасада из керамогранита предоставляет огромные возможности по созданию уникальных зданий. Немногие строительные технологии дают такие перспективы по украшению домов, как отделка фасада керамогранитом. Фото интересных вариантов фасадов можно посмотреть по каталогам производителя керамогранита.
Дизайнерские воплощения могут быть совершенно любым. Главное произвести расчет, а крепеж будет по-настоящему надежным с помощью вентфасада
Разновидности фасадного керамогранита
Размеры
Фасадный керамогранит, размеры которого могут быть разными, имеет форму квадратов или прямоугольников.
Выпускаются плиты следующих размеров (в мм):
- 300х300;
- 300х600;
- 400х400;
- 450х450;
- 600х600;
- 1000х1000;
- 1200х600;
- 1200х1200;
- 1200х1800.
Размеры керамогранита позволяют оформить разные этажи здания в зависимости от разработанного плана
В некоторых странах дизайн керамогранита предпочитают под натуральный камень. В нашей стране чаще всего используют нейтральные светлые и темные цвета. Бежевый вариант цвета выбирают чаще всего
Толщина выпускаемых плит из керамогранита – от 7 до 30 мм. Толщина керамогранита для фасада чаще всего лежит в диапазоне 8-10 мм. Керамический гранит имеет большой удельный вес, и более тяжёлые плиты требуют большей прочности каркаса, соответственно и плиты и монтаж обходятся дороже. Но керамогранит фасадный настолько прочен, что такой толщины плиты вполне достаточно для гарантии сохранения всех эксплуатационных характеристик на долгие годы.
Если смотреть на вентфасад с близкого расстояния расстояния, то наглядно видно и крепежи и швы. Но это не должно беспокоить, так как это не влияет на функционал и эстетическую сторону дизайна здания
Это фото позволяет подтвердить, что большое видится на расстоянии и крепеж абсолютно не виден
Цвет и виды поверхности
Фасадная плитка керамогранит радует многообразием своих расцветок. Они варьируются от черного до белого и красного. Кроме того, плиты отличаются по текстуре и способу обработки поверхности.
Схема на которой показано размещение керамогранита с помощью направляющих
Выпускают следующие виды плит:
- Матовые плиты – самый распространённый и дешёвый вариант, поскольку такие плиты не проходят дополнительной обработки после обжига.
- Шлифованные плиты – после обжига проходят операцию шлифования с помощью алмазного инструмента. Получается матовая и несколько шероховатая поверхность.
- Полированные плиты – проходят две дополнительные операции: шлифование и полирование. Полированные плиты выпускают однородные и с нанесённым рисунком. Рисунок часто имитирует какой-нибудь природный материал, например камень или дерево. Полированные плиты очень хорошо отражают солнечный свет, поэтому в жарком климате в зданиях с такой облицовкой прохладно.
- Полуполированные плиты – изготавливаются по очень интересной технологии: поверхность плиты срезается в некоторых местах (не во всех!), и места срезов полируются. Получается необычная текстура.
- Специально состаренные (рустикальные) плиты – самый дорогой вариант обработки поверхности. Применяются в специальных случаях, когда фасаду хотят придать вид старинного здания. Такие плиты прекрасно имитируют старинные архитектурные рельефы (каменную кладку, разные виды камня, деревянные поверхности).
Здания из керамогранита меняют вид городов. Керамогранит часто совмещают со стеклянным оформлением
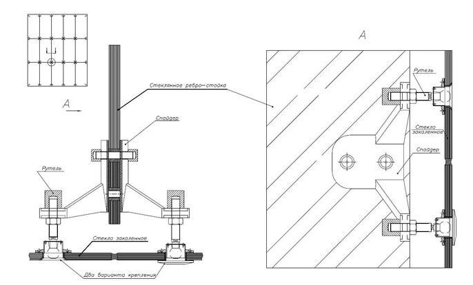
Спайдерное остекление
Технология остекления фасадов спайдерного типа имеет свои отличия. Монтаж на несущие конструкции происходит точечным методом с применением специальных крепежных элементов «спайдеров».

Крепление стекла спайдер
Прикрепляются они сборными элементами – анкерами и болтами, иногда используют сварку. Особенностью спайдерного остекления является отсутствие опирания стеклопакета на раму. Для герметизации системы используют силиконовый раствор.
Несущая конструкция из металла делается в виде балки, арки или купола.

Чертеж спайдерного крепления стеклянного фасада
Преимущества
- легкость и прозрачность конструкции;
- возможность возвести конструкции большого размера;
- высокая пропускная способность света, которая позволяет экономить электроэнергию и улучшает условия труда офисных работников;
- прочность. В изготовлении «спайдеров» используют высоколегированную сталь;
- безопасность. В остеклении используют закаленное стекло или триплекс.
- стойкость к коррозии;
- легкость в уходе и ремонте.

Также можно обеспечить доступ с улицы к отдельным помещениям, который используют в выставочных салонах, витринах больших магазинов.
Технология монтажа

саморезы
Монтажные работы можно разделить на два этапа. На первом этапе по периметру здания нужно закрепить вертикальные и горизонтальные направляющие с шагом, равным размеру одной плитки. Для этого можно использовать оцинкованный профиль 27×60, который также применяется при монтаже ГКЛ, или доску 100×25, предварительно обработанную антисептиком.
Второй этап — закрепление фасадной плитки на обрешетке при помощи саморезов и отвертки. Закреплять панели нужно так, чтобы каждая следующая закрывала место крепежа, образовывая монолитную стену. В процессе сборки фасада при желании можно еще и утеплить сооружение. Для этого минеральный или полистирольный утеплитель нужно поместить в пространство между основной стеной и облицовочной плиткой.
Установка обрешетки
Обрешетку под клинкерную плитку необходимо выполнять особенно в случае неровности стены, а также, если необходимо монтировать вентилируемый навесной фасад.
Обрешетку следует выполнять следующим образом:
- крепление планок необходимо производить в горизонтальном положении саморезами. Применять кронштейны в данном случае не рекомендуется;
- шаг между направляющими должен быть таким, чтобы панель размещалась на трех вертикальных направляющих;
- нижнюю горизонтальную рейку следует крепить в 20 (до 40) см над линией грунта;
- щели между стеной и профилем (бруском) необходимо заделывать пеной.

После крепления обрешетки выполняют облицовочные работы с клинкерной плиткой.
В заключении…
При монтаже вентфасада из керамогранита можно получать разнообразный орнамент. Традиционный способ предполагает укладку плит одного цвета и размера сплошным массивом с выделением цоколя или углов панелями иной окраски. Смещение рядов по горизонтали дает эффект кирпичной кладки. Иногда ее разнообразят цветными вставками в произвольном порядке. Комбинированное применение элементов фасада, имеющих различные размеры и форму, позволяет создавать сложные композиции. Прямоугольные панели можно укладывать в паркетный узор.

Если вы задумались о способе облицовки здания, не тратьте время, перебирая многочисленные варианты. Применение технологии вентилируемого фасада с отделкой керамогранитом сделает любое здание не только красивым, но еще уютным и долговечным.
Эксплуатационные качества керамогранита
Керамогранит – искусственный материал, который производят из смеси измельченных природных минералов методом прессования при высокой температуре. Отделочная плитка, полученная таким способом, отличается однородной структурой и имеет набор замечательных свойств:
- Высокая ударная прочность, износоустойчивость, долговечность.
- Простота ухода. Плитку можно мыть и чистить с применением любых средств бытовой химии. При необходимости она легко заменяется на новую.
- Облицовка керамогранитом имитирует различные породы природного строительного камня, придавая зданию основательный и эстетичный внешний вид. На рынке существует большой выбор фасадной плитки из этого материала всех цветов и разнообразной фактуры.
- Невосприимчивость к ультрафиолетовому излучению, и резким перепадам температур, морозоустойчивость.
- Пожарная безопасность и экологическая чистота.
- Низкая стоимость.
Монтаж утеплителя и гидроизоляции
После того установки крепежей можно приступать к монтажу пароизоляции и утеплителя. В качестве парозащитной мембраны используют изоспан или другие аналогичные материалы – они позволяют выводить излишнюю влагу из стен, в то же время, не пропуская её снаружи.
Поверх пароизоляции укладывается слой утеплителя. Толщина теплоизоляции зависит от показателей теплопроводности материала и от минимальных показателей зимних температур для данного региона. Вычисление необходимой толщины теплозащитного слоя производится по следующей формуле:
R=δ/k, где
- R – необходимое сопротивление для данного региона;
- δ – толщина слоя утеплителя;
- k – коэффициент теплопроводности утеплителя.
Показатели теплового сопротивления для различных регионов страны даны в положениях СНиП №230199 о строительной климатологии, и приведены ниже.

Наиболее часто для утепления фасада применяются:
- Минвата;
- Пенополистирол;
- Пенополиуретан.
Минеральная вата поставляется на рынок в виде рулонов или плит, которые различаются плотностью и показателями теплопроводности. К стене она крепится посредством специальных пластиковых дюбелей-грибков с широкой шляпкой.
При намокании минвата уплотняется и теряет свои теплоизоляционные качества, которые не восстанавливаются даже после её высыхания, поэтому следует тщательно производить наружную гидроизоляцию утеплителя.

Пенополистирольные (пенопластовые) листы также имеют высокие показатели теплозащиты и могут монтироваться как на дюбеля, так и на клеевые растворы. На несущее основание они укладываются в 2-3 слоя таким образом, чтобы стыки верхних и нижних слоёв не совпадали. Швы, для защиты от проникновения сквозняков, заделываются герметиками.
Полиуретановая пена наносится на стену при помощи специальных аппаратов-пенообразователей, в которых смешиваются химические компоненты. Преимущество такого способа состоит в возможности получения монолитного бесшовного слоя теплоизоляции. Однако, по сравнению с минватой и пенопластом, пенополиуретан достаточно дорог: цена 1 кв.м. утепления может достигать 500 – 800 руб.
Согласно нормативам СНиП, минимальная толщина теплоизоляционного слоя для различных материалов должна составлять (без учёта толщины несущих стен):
- Минвата при плотности 50 кг/м3 – для московского региона – 20 см, Краснодара – 15 см, для Якутска – 35 см;
- Пенополистирол при плотности 100 кг/м – для Подмосковья – не менее 15 см, для Урала, Дальнего Востока и Южной Сибири – около 20 см, для Северной Сибири – до 25 см;
- Полиуретан при плотности 50 кг/м3. – для Подмосковья – около 8 см, для Урала и Южной Сибири – 10-12 см, для северных регионов – 15-18 см.
Несколько слов о производителях

Производством
- ГК «Global Group». Находится в Екатеринбурге, но осуществляет доставку во все регионы Р. Ф. На рынке с 2011 года. Стоимость фасадной плитки начинается от 670 руб. за кв. м.
- «ПРОФИСТ» — первоуральский завод фасадных материалов (Свердловская область). Насчитывается 6 филиалов в разных регионах (Москва, Екатеринбург, Ижевск, Пермь, Челябинск, Тюмень). Стоимость — от 580 руб. за кв. м.
- Компания «Кирисс фасад». Это московский узконаправленный производитель, у которого есть филиал в Твери. Плитку этого производителя на рынке отделочных материалов можно приобрести по цене от 550 руб. за квадратный метр.
- «Завод Стеновых Материалов», расположенный в Екатеринбурге. Производит и продает изделия из высокопрочного бетона. От 650 руб. за квадрат — такую цену производитель просит за свою фасадную плитку.
- Компания «Фастрот» также находится в Екатеринбурге. На рынке она с 2004 года. Преимущественное направление деятельности — изготовление изделий из бетона. Производство начиналось с выпуска тротуарной плитки, которая и сейчас является основной продукцией производителя. В качестве расширения продуктовой линейки была запущена линия по производству фасадной плитки. Сейчас последняя предлагается по цене от 750 руб. за кв. м.
Итак, если для облицовки здания выбрать фасадную плитку, то его внешний вид останется неизменным на долгие годы. Огонь, лютые морозы или зной — плитка выдержит все напасти. Более того, благодаря данному материалу можно создать неповторимый дизайн сооружения за достаточно приемлемую цену.
Нюансы производства
Главной задачей при производстве клинкерных панелей является надежная состыковка наружного керамического слоя с утеплителем.
Если используют полиуретановый утеплитель, то процесс производства включает в себя следующие этапы:
- происходит вспенивание пенополиуретана;
- в формы из алюминия выкладывается клинкерная плитка;
- покрывается плитка песчаным кварцем, либо мраморной крошкой (для защиты утеплителя от солнца в стыковочных швах);
- некоторые производители выкладывают металлические или полимерные крепления для монтажа;
- заливается свежевспененный состав утеплителя.
После застывания и охлаждения панель высвобождается из формы и направляется в цех доработки для оформления нужного размера в соответствии со стандартом.
Иногда производителя используют ориентированные стружечные плиты для создания структуры пирога термопанели и придания жесткости панели со стороны утеплителя. Тогда такие панели будут трехслойными.

Когда утеплителем является экструдированный пенополистирол, то технология производства клинкерной панели несколько отличается.
При изготовлении используют готовые плиты пенополистирола, которые проходят сложные этапы высокоточной обрезки по форме, необходимой для укладки. При помощи мощных клеевых составов пенополистирол приклеивают к клинкеру.
ВАЖНО!
При производстве плит с пенополистиролом применяется методика обеспечения закрытой перфорации, при которой обеспечивается необходимый парообмен.
Данная технология присуща только крупным производителям, которые могут себе позволить дорогостоящее оборудование.
Джамбо остекление
В переводе джамбо означает гигантский. Формат стеклопакета составляет 6000х3210. Это монолитное флоат-стекло с термической полировкой. Технология его изготовления схожа с производством триплекс стекол. Стеклопакеты Джамбо имеют много вариантов и бывают разной толщины и формы. Дополнительно они могут содержать декоративные вставки. Также можно нанести рисунок.

Стекла джамбо формата
Стоит отметить следующие достоинства:
- хорошая светопропускная способность;
- глянцевая поверхность;
- прочность;
- безопасность.
Джамбо стекло очень популярно в остеклении фасада дома и коттеджа, входных групп магазинов, бизнес-центров, галерей и других общественных зданиях.
Возможные ошибки
Хочу отметить ряд типичных ошибок, возникающих в процессе проведения работ:
- Монтаж несущих каркасов в морозы. При повышении температуры велика вероятность того, что крепежи ослабнут, и подсистема крепления потеряет свою жёсткость и прочность;
- Установка кронштейнов на стену без компенсационной прокладки. Это приводит к постепенному ослабеванию крепежа из-за сезонных циклов сжатия-растяжения материала под действием колебания температур;
- Совпадение швов при монтаже нескольких слоёв утеплителя. В результате образуются мостики холода, существенно снижающие эффективность теплоизоляции;
- Слишком близкая установка клямеров, в результате чего плита чересчур плотно входит в крепежи. При нагревании плиты на солнце она может лопнуть из-за расширения и вызванного этим внутреннего напряжения.
Список источников
- expert-dacha.pro
- yaplitka.ru
- fasad.guru
- BazaFasada.ru
- vse-postroim-sami.ru
- all-for-remont.ru
7 лестниц